- HOME
- 製品情報
- ストレーナ・オートストレーナ
- バケット形ストレーナ
製品情報
バケット形ストレーナ
バケット形ストレーナ
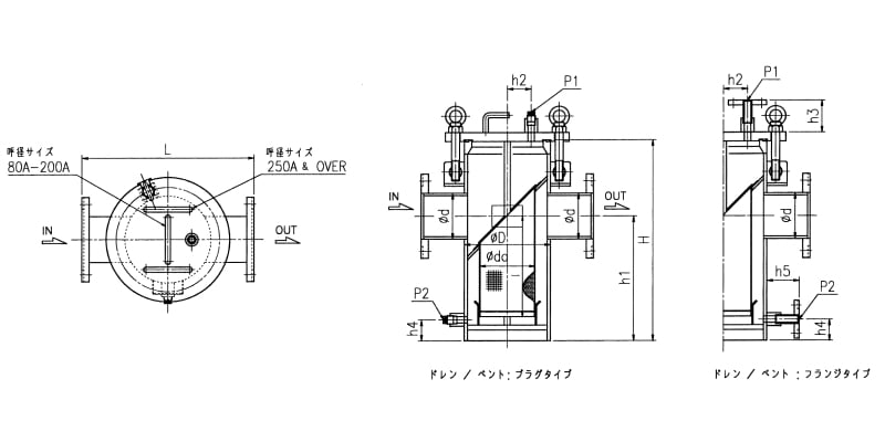
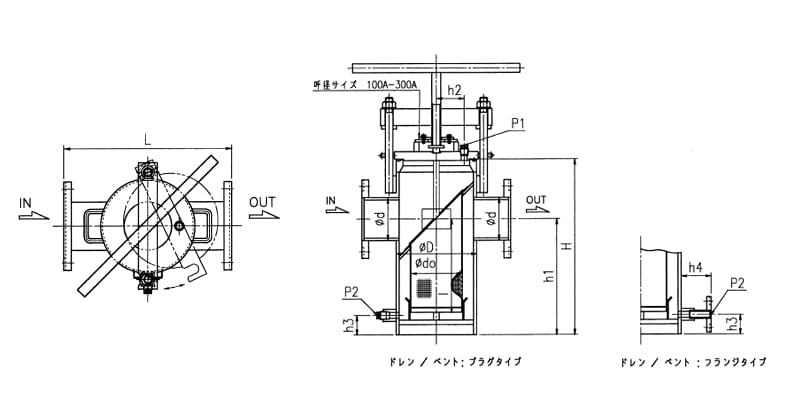
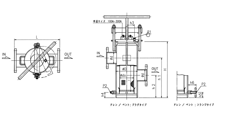
バケット形ストレーナ ストレートフロー
バケット形ストレーナは、主として水平配管内に設置されます。 本体内にエレメントがあり、上部カバーを開放し、抜出しできるため、捕捉された夾雑物(スラッジ)は、そのまま外部へ取り出されます。
さらに形状的にバランスが取りやすいので、大型のものに適します。
B1 ストレートフロー 標準タイプ

・水平配管タイプ(ストレートフロー)で低圧損
・小径から大径まで適合
・夾雑物(スラッジ)の多い場所に最適
・捕捉した夾雑物(スラッジ)はエレメントを抜き出して外部へ排除
接続口径 | 25A~500A |
---|
※上記以外の接続口径も製作しておりますので、お問合せください。
B1【製作呼び径:25A~300A】

B1【製作呼び径:350A以上】

DSU(旧KB1) 鋳物タイプ

・鋳物製でコンパクト、小径に適合
・各部の接続、多種類の材質に対応
・カバー部はキャップ式とフランジ式
接続 | フランジ(JIS、JPI、ASME)/捻じ込み |
---|---|
材質 | FC200/FCD-S/SCPH2/A216Gr-WCB/SCS13/SCS14/SCS16/その他 |
材質表
- 本体
- 炭素鋼JIS規格(SGP、STPG、STPT、STPA、他)/ステンレス鋼(SUS304,、316、316L、SUS329J4L)/チタン/ニッケル/ハステロイ/モネル
- エレメント
- ステンレス鋼(SUS304、316、316L)/チタン/ニッケル/ハステロイ/モネル
- ライニング/
コーティング - ゴム/テフロン/ポリエチレン/エポキシ樹脂/亜鉛メッキ
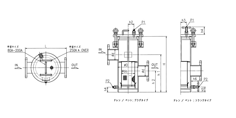
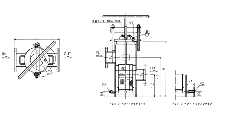
バケット形ストレーナ 段違いフロー
バケット形ストレーナは、主として水平配管内に設置されます。 本体内にエレメントがあり、上部カバーを開放し、抜出しできるため、捕捉された夾雑物(スラッジ)は、そのまま外部へ取り出されます。
さらに形状的にバランスが取りやすいので、大型のものに適します。
段違いフロータイプ(B2)は、ストレートフロータイプ(B1)に対して細かいろ過に適します。本体構造は、オフセットタイプで、入口中心線に対し出口中心線は、若干下方へ取付きます。
B2 段違いフロー 標準タイプ

・段違い配管タイプ
・微細ろ過に最適
・捕捉した夾雑物(スラッジ)をエレンメントで抜き出して外部へ排除
・夾雑物(スラッジ)の多い場所に最適
接続口径 | 25A~500A |
---|
※上記以外の接続口径も製作しておりますので、お問合せください。
【製作呼び径:25A~300A】

【製作呼び径:350A以上】

材質表
- 本体
- 炭素鋼JIS規格(SGP、STPG、STPT、STPA、他)/ステンレス鋼(SUS304,、316、316L、SUS329J4L)/チタン/ニッケル/ハステロイ/モネル
- エレメント
- ステンレス鋼(SUS304、316、316L)/チタン/ニッケル/ハステロイ/モネル
- ライニング/
コーティング - ゴム/テフロン/ポリエチレン/エポキシ樹脂/亜鉛メッキ
バケット形ストレーナ ジャケットタイプ
B1J ストレートフロー ジャケットタイプ

・ストレートフロータイプ
・高温仕様ジャケットタイプ
・フル、セミの両ジャケットタイプを製作
・本体部とジャケット部の材質が選択可能
接続口径 | 25A~300A |
---|
※上記以外の接続口径も製作しておりますので、お問合せください。
B2J 段違いフロー ジャケットタイプ

・段違い配管タイプ
・高温仕様ジャケットタイプ
・フル、セミの両ジャケットタイプを製作
・本体部とジャケット部の材質が選択可能
接続口径 | 25A~300A |
---|
※上記以外の接続口径も製作しておりますので、お問合せください。
材質表
- 本体
- 炭素鋼JIS規格(SGP、STPG、STPT、STPA、他)/ステンレス鋼(SUS304,、316、316L、SUS329J4L)/チタン/ニッケル/ハステロイ/モネル
- エレメント
- ステンレス鋼(SUS304、316、316L)/チタン/ニッケル/ハステロイ/モネル
- ライニング/
コーティング - ゴム/テフロン/ポリエチレン/エポキシ樹脂/亜鉛メッキ
楽々メンテタイプ
メンテナンス時のストレーナカバー開放を容易に行う為の装置がついたタイプです。
クイックオープン(カバーフランジ開閉)
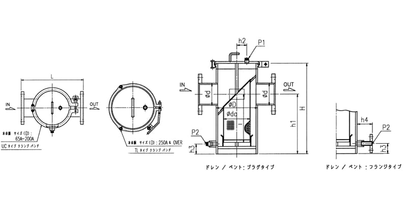
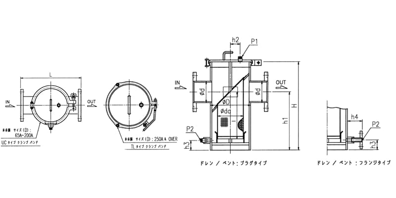
【クランプバンド式(アイボルト式)】
・クランプバンドを用いたタイプで、カバー部の着脱に工具不要
・低圧配管用
接続口径 | 25A~300A |
---|
※上記以外の接続口径も製作しておりますので、お問合せください。
B1C クランプバンド式(アイボルト式)

B2C クランプバンド式(アイボルト式)

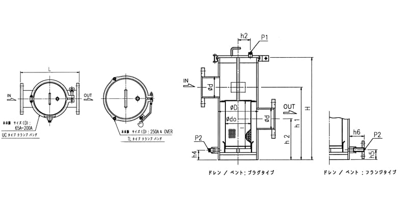
【スイングボルト式(フェルールバンド式)】
・ボルトをスイングさせる構造で、カバーフランジを容易に着脱可能
・ボルト頭に輪を付けていますので、丸棒だけでも開閉可能
接続口径 | 25A~300A |
---|
※上記以外の接続口径も製作しておりますので、お問合せください。
B1S スイングボルト式
(フェルールバンド式)

B2S スイングボルト式
(フェルールバンド式)

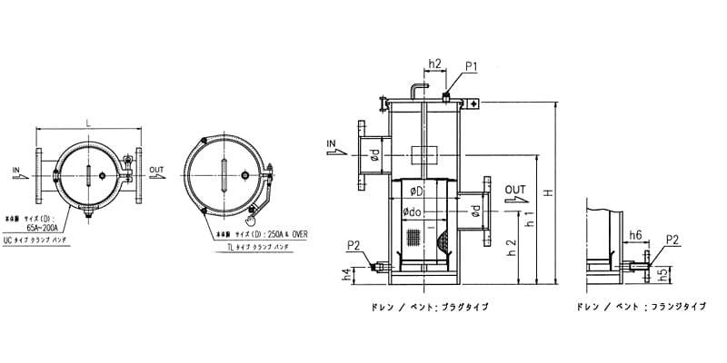
【クイックオープン式(H型一点締めボルト式)】
・カバーを一点で押える構造で、工具を用いずにカバーの開閉操作が可能
・センターボルトでカバーをリフトアップしてスライドさせるタイプも有り
・低圧配管用
接続口径 | 25A~300A |
---|
※上記以外の接続口径も製作しておりますので、お問合せください。
B1Q クイックオープン式
(H型一点締めボルト式)

B2Q クイックオープン式
(H型一点締めボルト式)

イージーオープン(カバーフランジ吊上)
メンテナンス時のストレーナのカバー開放を容易に行う為のオプションです。
【ダビット】

カバーフランジを吊り上げて、横にスライド移動させる装置です。
縦型モデル(左回)と横型モデル用があります。
【ヒンジ】

蝶番(ちょうつがい)のようにカバーフランジを支点で開閉させる装置です。
上下、左右いずれの開閉にも取り付けることができます。
その他オプション
【マグネット】
マグネットに鉄粉を吸着させ、エレメント清掃頻度を低減する為のオプションです。
【形状:リング形】

【形状:マグネットバー】

材質表
- 本体
- 炭素鋼JIS規格(SGP、STPG、STPT、STPA、他)/ステンレス鋼(SUS304,、316、316L、SUS329J4L)/チタン/ニッケル/ハステロイ/モネル
- エレメント
- ステンレス鋼(SUS304、316、316L)/チタン/ニッケル/ハステロイ/モネル
- ライニング/
コーティング - ゴム/テフロン/ポリエチレン/エポキシ樹脂/亜鉛メッキ