- HOME
- PRODUCTS
- Strainers / Auto Strainers
- TEMPORARY STRAINERS
PRODUCTS
TEMPORARY STRAINERS
These strainers are just for temporary use. They are mainly used for start-up and flushing.
F TYPE


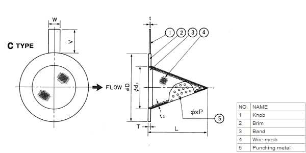
C TYPE


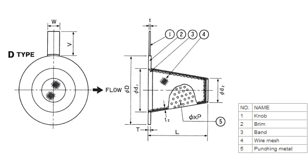
D TYPE


MATERIAL
Available MATERIALs. We can manufacture in a wide variety of special MATERIALs. If you need strainers in other unique MATERIALs, please contact us.
- Element
- SUS304 / SUS316 / SUS316L / Hastelloy / Monel / ALLOY20
WHERE TO PLACE
- Electrical Power Plants and Steel Plants: Sea water and industrial water lines
- Refinery Plants: Process lines
- Petrochemical Plants: Process lines
FAQ
Q1. Types of strainers Daido supplies.
Answer1.
- Temporary Strainers
They are to be installed between piping flanges and used for start-up and flushing. - Y-type, T-type and Riser Strainers
These types of strainers are used for flowing fluids or gases which contains less foreign particles. Y-type and T-type strainers are mainly installed to protect vital piping equipments such as pumps, flow-meters and heat-exchangers. And Riser type is often installed in firefighting equipment lines in order to prevent spray nozzles from clogging. - Bucket Strainers
Bucket strainers are used to protect piping equipments like other types of strainers. An advantage over the other types of strainers, bucket type is more flexible about adapting specifications such as design pressure and size exactly to customers’ needs.
CONTACT DAIDO
Please click Contact page
Tel : +81-3-3252-0411
CATALOG DOWNLOAD
Please click Catalog page